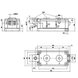
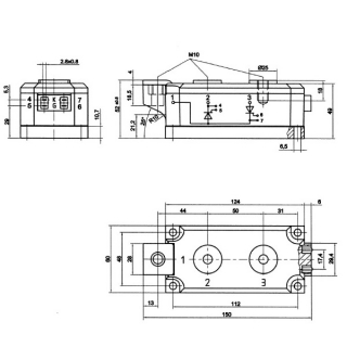
SKKH430/16E

Ціна: 1.00 EUR
Напруга (V): 1600
Струм (A): ≤ 430
Конфігурація модуля: Діодно-тиристорний